On cars, old, new and future; science & technology; vintage airplanes, computer flight simulation of them; Sherlockiana; our English language; travel; and other stuff
ALLIED AIRCRAFT synchronized armament in 1917. An automotive torque converter in 1926. Let’s celebrate the fellow who devised these two and other technicalities: George Constantinescu, a Romanian-Briton with an office in Paris as well.
I stumbled upon Constantinescu while scanning through The Complete Encyclopedia of the Motor Car 1885 to the Present in research of something else entirely, “Operatic Cars. Not that there’s any opera character named Constantinescu; rather, the words “World War I… synchronizing gear” caught my eye. Subsequent Internet sleuthing revealed other Constantinescu achievements in the use of pure mathematics in engineering design, the theory of sonics, and even bridge design.

George “Gogu” Constantinescu, also appearing Georges Constantinesco, 1881–1965, Romanian-born British scientist, engineer, inventor, and automaker.
George’s father had been a professor of mathematics and engineering at the Nikolai Balcesca Institute in Craivoa, Romania, later teaching at the Sorbonne in Paris. The elder Constantinescu gave George a love of music, a training in piano, and a theoretical appreciation of sound and acoustics. George immediately applied these to his design of a hearing trumpet in aid of his mother’s growing deafness.
George studied at L’École Nationale des Ponts et Chausees, the elite civil engineering school in Paris. His first trip to Britain in 1910 was a waypoint on an intended U.S. visit to meet Charles F. Kettering. By 1912, Constantinescu had become a British subject.
Constantinescu followed his father in combining mathematical theory with engineering applications. In particular, he is considered the father of the theory of sonics. One of his many British patents (eventually 134) was for an efficient rock drill operated by sonic waves generating the required percussion.
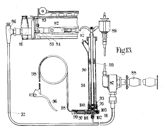
In 1915, German fighter pilots were the first to have synchronized firing of their forward-facing armament, thus minimizing the proclivity for shooting off their own planes’ propellers. “Tony’s Straight Shooters” at SimanaitisSays gives details of the Fokker Eindecker with this feature. Briefly, it was a mechanical interrupter with a cam-and-pushrod mechanism linked to the engine’s oil pump.
In 1917, the Allies found a successful counterpart in the C.C. synchronization gear, named for Constantinescu and Colley, the Chief Experimental Officer and Artillery Adviser for the British War Office Munitions Invention Department. Unlike Fokker’s mechanical interrupter, the C.C. gear was a more reliable hydraulic device. This one was based on Constantinescu’s theoretical investigations of wave transmission, as described later in his book A Treatise on Transmission of Power by Vibrations, published in 1918.
The C.C. synchronizer gear was fitted to all new British fighters from November 1917 onward. In fact, as late as 1937, the Gloster Gladiator featured it.
Constantinescu’s theoretical and engineering achievements were far from completed at this point. Tomorrow, we’ll encounter his clutchless automobile, artful bridges, and a great tale about the Romanian Chamber of Deputies. ds
© Dennis Simanaitis, SimanaitisSays.com, 2018